کمری | رادیاتور اب و فن ها
| کد مدل |
سال |
گیربکس |
موتور |
تیپ |
سفارش |
تعداد در |
| MXVA71L-JEXQBT |
2021-2021 |
|
|
|
|
4-DOOR |
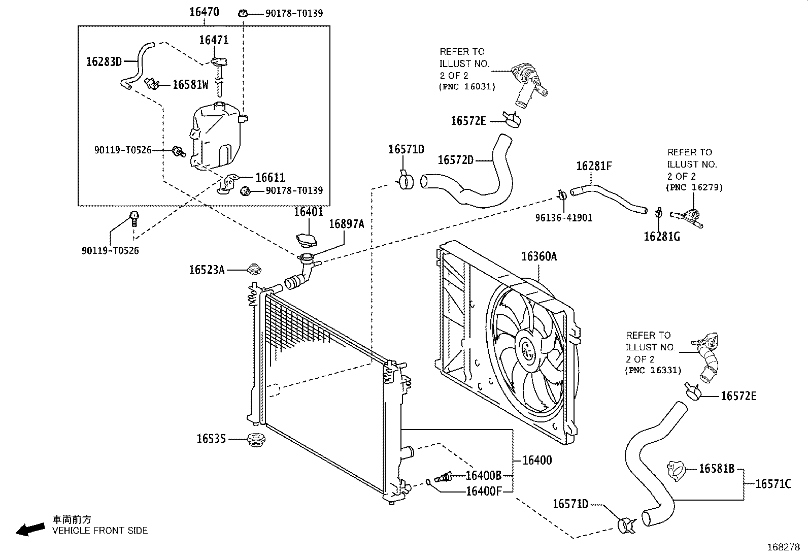
| 16571D |
بست |
| 90466T0068 |
|
| 9613644801 |
|
| 16535 |
SUPPORT, RADIATOR, LOWER |
| 1653520030 |
|
| 16572E |
CLIP, RADIATOR HOSE, NO.2 |
| 9613644301 |
|
| 90466T0067 |
|
| 16400B |
شیر تخلیه رادیاتور |
| 164170C180 |
|
| 16281G |
CLIP(FOR WATER BY-PASS HOSE NO.5) |
| 9046715022 |
|
| 16572D |
شیلنگ پایین رادیاتور |
| 16572F0290 |
|
| 16523A |
ضربه گیر تکیه گاه رادیاتور |
| 16523F0030 |
|
| 16281F |
شیلنگ خنک کن روغن موتور |
| 16282F0310 |
|
| 16581B |
CLAMP, HOSE(FOR RADIATOR HOSE) |
| 16581F0120 |
|
| 16571C |
شیلنگ بالای رادیاتور |
| 16571F0180 |
|
| 16401 |
درب رادیاتور |
| 16401F0010 |
|
| 16283D |
شیلنگ مسیر آب فرعی |
| 16283F0080 |
|
| 16611 |
پایه مخزن آب رادیاتور |
| 166110V040 |
|
| 16471 |
CAP SUB-ASSY, RESERVE TANK |
| 164050V070 |
|
| 16400 |
رادیاتور آب |
| 16400F0030 |
|
| 16400F |
اورینگ پیچ تخلیه |
| 164920L060 |
|
| 16581W |
CLAMP, HOSE(FOR WATER HOSE) |
| 1658125050 |
|
| 16470 |
منبع آب برگردان رادیاتور |
| 164700V100 |
|
| 16360A |
فن رادياتور كامل |
| 16360F0030 |
|